1. Đặc tính kĩ thuật Cảm biến nhiệt độ Sick TSP-1PAG10606MZ
-
Cảm biến nhiệt độ Sick TSP-1PAG10606MZ
-
Dãy đo: -30 °C … 130 °C
-
Tín hiệu ngõ ra: Pt100, 2-wire
-
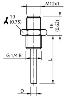
Chiều dài và đường kính đầu dò: 60 mm / 6 mm
-
Kiểu kết nối: G 1/4 B
-
Cáp kết nối : M12 x 1, 4-pin, IP 67
2. Kích thước


